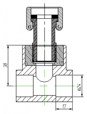
Тройник Kalde 3222-tut-250c00 25х3/4" с накидной гайкой купить в Москве дешево
Мы используем файлы 'cookie', чтобы обеспечить максимальное удобство пользователям.