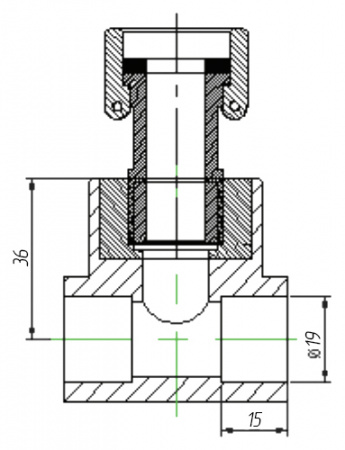
Тройник Kalde 3222-tut-200c00 20х3/4" с накидной гайкой купить в Москве дешево
Мы используем файлы 'cookie', чтобы обеспечить максимальное удобство пользователям.