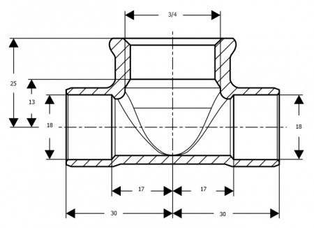
Тройник Viega 94130G ВН 18x3/4x18 купить в Москве дешево
Мы используем файлы 'cookie', чтобы обеспечить максимальное удобство пользователям.