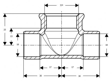
Тройник Viega 94130G ВН 18x1/2x18 купить в Москве дешево
Мы используем файлы 'cookie', чтобы обеспечить максимальное удобство пользователям.