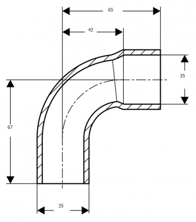
Отвод Viega 95001A BB 90° DN 42 купить в Москве дешево
Мы используем файлы 'cookie', чтобы обеспечить максимальное удобство пользователям.