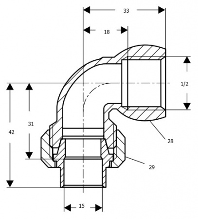
Отвод Viega 94096G DN 15x1/2 купить в Москве дешево
Мы используем файлы 'cookie', чтобы обеспечить максимальное удобство пользователям.